Stocker Stahl AG Logo

Löt-Verschraubungen +GF+ Typ 7331

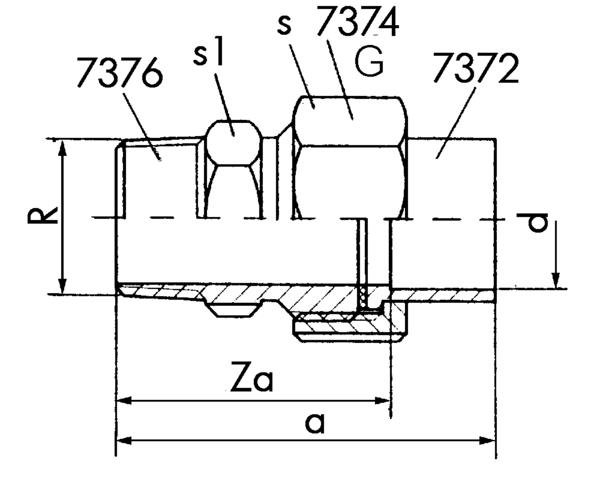
Beschreibung:
  • für Kupferrohre
  • mit Aussengewinde
  • Einlege- und Einschraubteile Rotguss
  • flach dichtend
  • Überwurfmutter Messing
  • inkl. Dichtung