Stocker Stahl AG Logo

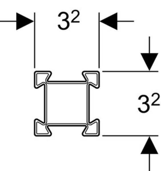
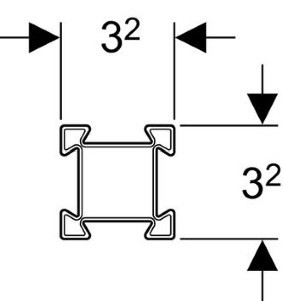
Profilschienen GIS

Beschreibung:

Verwendung:

  • zum Erstellen von GIS Tragsystemen

Werkstoff Stahl
Länge 5 m