Stocker Stahl AG Logo

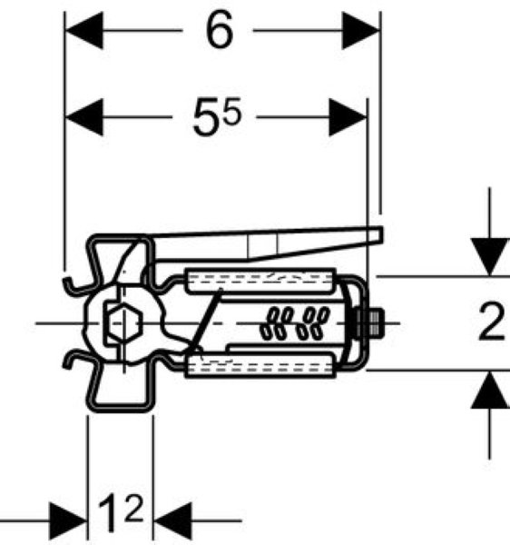
Profilverbinder GIS

Beschreibung:

Verwendung:

  • zum werkzeugfreien Verbinden von GIS Profilen